联合国五常为何会被戏称为“五大流氓”?只因拥有一项特殊权利
联合国五常为何会被戏称为“五大流氓”?只因拥有一项特殊权利
网络上,总有网友戏称,中美英法俄这五个联合国安理会常任理事国是“五大流氓”。当然这只是个玩笑,尤其是中国网友说这句话时,总是透漏出一丝隐藏的自豪,毕竟,国家之间的交往不同于民间,“耍流氓”靠的可不是不要脸,而是硬实力。

这个所谓的硬实力,其实就是身为联合国安理会五常所拥有的一项特殊待遇---一票否决权!
按照联合国的章程规定,安理会的任何决议,都必须五个常任理事国一致通过才可生效,只要有一家投出反对票,这个方案就无法执行。这就是一票否决权,而这项权利也给了五大常任理事国高出其他国家一大截的话语权。
也因此,五常可没少遭世界上其他国家的羡慕嫉妒恨,比如土耳其总统埃尔多安就递交了提案,要求取消常任理事国和非常任理事国制,应当由20个国家组成联合国安理会,并且成员要轮换。当然,这一次,五常出奇的一致,很快就给予了全票否决。

埃尔多安
嫉妒归嫉妒,但是想要取消五常制度,想要拿走一票否决权,至少在目前看来,没有国家能够做到,因为在一票否决权的背后,是拥有此项权利国家的绝对实力。
熟悉历史的朋友都知道,中国直到1971年才正式加入联合国,并且继承了之前的五常席位和令无数国家垂涎欲滴的一票否决权。这看似顺理成章的背后其实是一场场的硬仗,是无数英雄的鲜血,是整个国家数代人的努力。
1950年,我们打了抗美援朝,硬生生的把美国为首的联合国军给打回了三八线另一边;
1962年,我们以闪电之势来了一场中印自卫反击战,顶着国际压力教训了近邻一把,再次亮出了拳头;
1965年,参与越战,愣是让美国的如意算盘落空,导致其损失惨重,怏怏而归;
1969年,中国甚至跟曾经的盟友前苏联在珍宝岛爆发了冲突,虽然规模不大,时间很多,但是敢于硬抗当时的世界一霸,中国的实力和勇气可见一斑。
就是在这种背景下,中国于1971年10月25日,被联合国大会恢复了合法席位。

是欧美列强发善心么?是非洲兄弟把我们抬进去的么?其实让我说都不是,是我们自己凭借硬实力挤进去的。为何要成立联合国?就是为了处理全球事务,要以坐下交流为手段,以武力为威慑,从而达到避免战争,和平协商解决问题的目的。
换句话说,联合国的决议要具有权威性,要能够在全球每一个角落执行才可以。然而很快所有人都发现,远东一带的事情,谁说话都不好使,只要中国不愿意,没有国家能够在这里实现其战略意图,联合国也不行。事情到了这一步,中国恢复联合国合法席位也就水到渠成。
靠天靠地靠他人,其实都不如靠自己。
近年来,日本,德国,巴西甚至印度等国家多次提出想要入常,一次次递交提案又一次次被驳回。其实完全不需要如此费力,只要谁能像中国当年一样,以一己之力同其他常任理事国交锋,且不落下风,能让自己所在的势力范围中联合国的决议不好使,那么他就可以取五常之一而代之,或者从此以后世界变成六常。

乔冠华
战场上拿不到的东西,永远不要指望能够在谈判桌上拿回来。
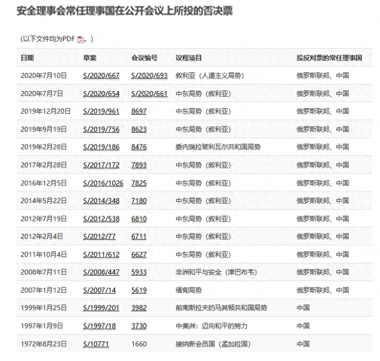
扯了这么多,其实只是想说明中国五常席位的来之不易和一票否决权的重要性。然而作为一名有原则,有担当的大国,中国却从来不滥用自己的否决权,在恢复席位这近50年里,中国仅仅只在公开会议上投了16次反对票,是五常中最少的,远远低于美国和前苏联。

那么,又是什么事情使得我们投出了反对票,我们又为什么要实行一票否决权利呢?今天咱们就来聊一聊那些年,中国在联合国投过的那些反对票。
1972年8月,中国第一否,拒绝接纳孟加拉国
1972年8月25日,中国送出了恢复席位以来的第一张反对票,反对的是孟加拉国想要加入联合国的提案。
孟加拉是中国的邻国,古时候还曾经是中国的领土,本着宁恼远亲,不恼近邻的原则,怎么看也不应当拒绝孟加拉国加入联合国的请求。但其实这张反对票投的很有必要,旗帜鲜明的亮出了中国一贯的外交立场,让所有人都无话可说。
事情要从我们的铁哥们巴基斯坦说起。
网上有个流行语叫做“巴铁”,说的就是中巴之间铁一般的友谊,按照官方的说法,中巴是铁杆朋友和全天候战略合作伙伴。这是一个非常高的评价,可见中国对同巴基斯坦之间友谊的看重。

巴基斯坦的宪法明确规定任何人都不得破坏中巴关系;小学教科书中将中巴友好写了进去,宪法和教科书意味着什么?宪法是立国之本,教科书代表着下一代的思想。可见巴基斯坦是真心同中国这个朋友相处。
但其实,上个世纪中期,巴基斯坦同中国并没有太多的联系,反而是选择了站在美国一边。然而由于印度的存在,中巴之间有着共同的敌人和利益,因此双方合作也是越来越紧密,关系越来越好。并最终成为了现在这样的“铁哥们”。

孟加拉国地处巴基斯坦东部,在第三次印巴战争时,印度增兵直接攻入东巴基斯坦首府达卡,巴基斯坦回天乏力,看着东巴基斯坦分离,成立了孟加拉国。
面对从自己身上被生生割下的一块肉,巴基斯坦肉疼之余,心更疼,说什么也不愿意承认孟加拉国。1972年孟加拉国申请要求加入联合国,而中国毫不犹豫的投出了反对票,对于孟加拉的入联申请给予否决。
针对中国这张处女反对票,众说纷纭。有些人说中国是为了表明同巴基斯坦的友谊,用实际行动支持巴基斯坦。这固然是一大原因,但是如果仅仅这样理解这张反对票的意义就过于肤浅了。
朋友当然重要,但是原则更加重要,这是一个国家的立国之本,信用之基。孟加拉是他国势力凭借武力硬生生从其他国家划出的一个新存在。这样的一幕中国并不陌生,甚至很是熟悉,近代中国,积贫积弱,不就是多次被列强割下一片又一片领土,却只能打落门牙和血吞。
这样的强权政治,中国从来不支持,我们秉持的永远是和平共处,友好协商,身为一名常任理事国,如果默许了这种公然干涉他国内政,划分土地的行为,今后还将如何自处。我们的这张反对票,不仅仅是投给了我们的朋友,更是投给了公平和正义。
一直到1974年,巴基斯坦正式承认了孟加拉国,并同其建交。中国才本着支持尊重的态度,投票赞成了孟加拉国入联。
一否到底,16轮反对票只为一人,一个原则
1981年,一向低调内敛,闷头发展的中国忽然间爆发了,针对一个议案连投了16轮反对票,把美国代表搞的焦头烂额,也让全世界瞠目结舌,这个议题是有关下一任联合国秘书长的人选。
按照联合国宪章的要求,想要出任联合国秘书长,必须要满足两个条件:第一,在 5 个联合国安理会常任理事国和 10 个非常任理事国的投票中至少获得 9 票;第二,5 个常任理事国必须一致赞成,不然就要重新推选。
当时的秘书长叫库尔特·瓦尔德海姆,奥地利人,这一年63岁,正好结束其第二个五年任期。瓦尔德海姆是位优秀的政治家,为人正直,口碑也很好,在任期间做出的努力有口皆碑,包括美苏在内的一众国家都支持其竞选自己的第三个联合国秘书长任期。

瓦尔德海姆
谁也没想到,一直不声不响的中国忽然投了一张反对票。
所有人大跌眼镜,纷纷打听瓦尔德海姆是否无意中得罪了中国。但其实真没此事,相反他同中国的关系还很好,对华态度一直很是友善。他是第一位访问中国的联合国秘书长,而且多次在国际事务上帮助当时并不强大的中国说话。
那么中国为何要对老朋友投反对票呢?其实也是对事不对人,中国有自己处理国际事务的原则,而这是不可侵犯的。
因为在中国看来,联合国秘书长不能总是由来自发达国家的欧洲人担任。这样不符合广大第三世界国家的利益,这个世界应当是公平合理的,而不应当逐渐沦为少数发达国家的附庸。
因此,中国在反对瓦尔德海姆连任的同时,提出了自己的人选,来自坦桑尼亚的萨利姆。新一届联合国秘书长之争正式拉开帷幕,瓦尔德海姆VS萨利姆,背后则是美国VS中国。

萨利姆
面对美国全力支持的瓦尔德海姆,中国代表毫不退缩,第一轮投票结果:萨利姆 11 票,瓦尔德海姆 10 票。美国给萨利姆投了反对票,中国则给瓦尔德海姆投了反对票。
无奈之下,只好再次投票,美国代表疯狂运作,试图达成目标,怎奈中国毫不让步,一轮轮的否决,让美国代表只能徒呼奈何。
很快八轮投票结束,中美也各自否决了对方人选八轮,这投票一时陷入了僵局,众人面面相觑,不知所措。
一时间议论纷纷,对于中国突如其来的强硬,很多人认为这是一种惺惺作态,想要证明自己是第三世界代言人,为第三世界国家的崛起而努力。既然已经努力过了,下面就是投个赞成票缓和一下中美关系了。还有人认为中国纯粹在搅局,给自己刷存在感。
面对种种谣言,国内传来了邓公的指示:什么都不要理会,一否到底!

接下来的八轮投票,中国毫不犹豫的继续否决,整整21天时间,16轮投票,其他三个常任理事国都已经弃权了,只有中美在互相投反对票,寸步不让。这事开创了联合国的先河。
中国甚至在这个时候发布了一个声明,声称中国始终反对个别超级大国对联合国事务的操纵和控制,中国不会改变支持第三世界候选人的立场,这个世界不应当成为强权的附庸。
再举行会议已经无济于事了,如果不想发起战争那就只能另谋他路。最终瓦尔德海姆主动选择了放弃,退出竞选,随后萨利姆也退出了竞选。安理会又提出了9个人的候选名单,这九人有个共同点,都来自第三世界。
最后,来自南美洲秘鲁的佩雷斯·德奎利亚尔当选,这次中国给了赞成票,而美国并没有反对。
原则问题上决不让步
纵观中国历次公开会议上的否决权使用情景,我们发现了一个明显的规律,中俄一起否决的基本都是有关叙利亚问题,这个关系到两国的政治盟友关系和能源等核心利益,不再展开来说。至于中国单独否决的三次,除了刚才提到过的接纳孟加拉国入联以外,另外两次都和台湾有着千丝万缕的关系。
比如1999年的反对票,针对的是安理会同意联合国驻马其顿预防性部署部队延期的决议案。背后的原因是这样的,马其顿只是一个小国,1991年才独立,大概是太缺钱了,他居然于1999年同台湾“建交”,据说原因是台湾同意为其提供3亿元现金,并且为马其顿建设一座工业园区。

秉着人不犯我我不犯人的原则,在关于将驻扎在马其顿的联合国预防部队的任务期限延长六个月的问题上,中国毫不犹豫给予了否决。要知道当时因为战争,大量难民涌入马其顿,治安状况急剧恶化,很需要联合国的帮助,但是因为马其顿政府的“昏招”,只能自食苦果。
还一次是1997年的反对票,这一票则是给了危地马拉等中美洲国家的提案,提案内容不重要,重要的是危地马拉也不顾中国的再三反对,同台湾有着不间断的接触。
其实就算是上文提到的那破天荒的16次否决,背后也有台湾问题的影子。
当时美国里根总统刚上台,他对中国敌意很浓,曾表示要向台湾出售武器,这无疑触到了中国的逆鳞。随后而来的16轮反对票,就把中国的态度展现的淋漓尽致。

纵观那些年,中国投过的一系列反对票,我们是能够清晰地发现一个原则,这也是中国恪守的国际交往准则,那就是反对霸权,反对干涉别国内政,一心致力于构建人类和谐社会,命运共同体。未来的世界,应当是一个大家庭,大家不分彼此,不分种族,相信相爱,和谐共赢。衷心的希望这一天,早日到来。
-
- 19个国家级新区大盘点,有你所在省份吗?
-
2023-12-08 13:59:34
-
- 著名童星金铭:9岁爆红成团宠、在巅峰时退圈,她都经历了什么?
-
2023-12-08 13:57:19
-
- 详解《哈利·波特》中的死亡圣器到底是怎么回事
-
2023-12-08 13:55:03
-
- 国庆期间,厦门医院门诊安排出炉!三个方式可预约~
-
2023-12-08 13:52:49
-
- 广东“制毒教父”蔡东家,被捕时脸爆青筋、怒目圆睁、一脸不服
-
2023-12-08 05:15:09
-
- 想不到犹格索托斯和阿撒托斯还有一腿?深度解析犹格索托斯!
-
2023-12-08 05:12:54
-
- 曝光中医馆、捧红“眉毛哥”,浙江台这档节目凭什么能活过17年?
-
2023-12-08 05:10:39
-
- 迎两会·十大检察榜样事迹展播①卢俊宇-身藏办案一线的“幕后英雄”
-
2023-12-08 05:08:24
-
- 京卫本草这个国产药妆护肤品,究竟有何过人之处,女生不妨了解下
-
2023-12-08 05:06:09
-
- 河北最强悍匪张宝林,《征服》刘华强原型,现实比剧中凶残百倍
-
2023-12-08 05:03:54
-
- 31岁当选卡尔梅克共和国总统的蒙古人
-
2023-12-08 05:01:39
-
- 她是《说唱脸谱》原唱,比肩毛阿敏,为何放弃自己年轻的生命?
-
2023-12-08 04:59:24
-
- 汽车架号的全知道
-
2023-12-08 04:57:09
-
- 建筑大师贝聿铭生平经历及主要作品集
-
2023-12-08 04:54:55
-
- 二战德国105mm榴弹炮
-
2023-12-07 18:48:22
-
- 收藏!长沙地铁5号线,全部站点图示,8个换乘站!沿线哪些新盘?
-
2023-12-07 18:46:07
-
- 东北“二王”案件回顾:为什么案发后七个月才最终被击毙?
-
2023-12-07 18:43:52
-
- 长津湖战役,志愿军的冰雕连,美军是敬礼还是补枪?其实都不是
-
2023-12-07 18:41:37
-
- 出名时有多狂,现在就有多凉,小彩旗离开杨丽萍后都经历了什么?
-
2023-12-07 18:39:22
-
- “北大废物”许知远:骂领导,怼韩寒,他的人生比你想得更放肆
-
2023-12-07 18:37:07



苍月奥特曼:来自宇宙的战士
字节跳动市值多少亿(字节跳动高估值的原因)