大口径电磁阀水阀(大口径电磁阀不工作原因)
大口径电磁阀水阀(大口径电磁阀不工作原因)
大口径电磁阀水阀(1)。本发明涉及一种高压水射流清洗机,包括机架(1),所述机架(1)上设有进水口(2),所述进水口(2)通过管道(3)与与高压水射流清洗机(1)连接),所述机架(1)上设有出水口(3),所述机架(1)上设有喷嘴(4),所述喷嘴(4)上设有喷嘴((5))。本发明结构简单,操作方便,能有效清洗金属表面,提高金属表面的光洁度,降低生产成本。适用于各种金属表面的清洗。
主要阀门的检修
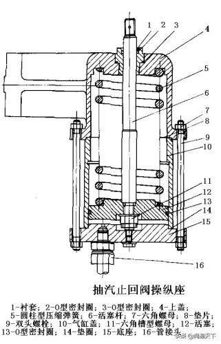
一抽汽止回阀
止回阀是用来防止管道和设备中介质倒流的一种阀门。汽轮机组中抽汽回热系统外置加热器的各抽汽管上均设置抽汽止回阀其作用是在机组甩负荷时,阀板自动关闭,防止加热器汽侧及进汽管道中的蒸汽倒回汽轮机内,引起汽轮机超速避免事故的发生。
引进型300MW机组配套的抽汽止回阀是气控旋启式止回阀,结构见图所示,气控操纵座结构图如图所示。主要由阀体、阀板、轴、轴套等组成,气控操纵座由活塞、气缸体、门杆、弹簧等组成。
抽汽止回阀在机组启动时处于关闭状态,在各级加热器随机启动时,抽汽止回阀的气控操纵座进气,活塞杆带动摇臂转动,将止回阀轴套对阀板轴的限位打开,此时阀板处于自由状态,靠抽汽管压力将阀板顶开,蒸汽通过阀门进入加热器。
在机组正常运行时,由于抽汽压力的作用,止回阀阀板保持在常开位置。在机组甩负荷停机时,抽汽压力骤降,阀板靠其自重快速回座,将阀门关闭,从而阻止加热器及管道内的存汽倒回到汽轮机内,达到保护的作用
抽汽止回阀的检修前的准备工作有以下内容:
在设备停役,保护及电源、气源切断后,将气控操纵座的进气、出气接头松开,操纵座活塞杆与止回阀杠杆相连接的销子拆除,并松开操纵座的固定螺栓后把操纵座拆下,定量摆放。然后,进行下面的工作。
1、阀门解体
(1) 首先用记号笔等做好盖头与阀体配合的标记,然后松开盖头螺栓,将盖头拆下。
(2) 将杠杆轴与气控操纵座连接侧的轴承、挡油圈及杠杆拆下,定置摆放。
(3) 松开大密封盖螺母,拆下大压圈。
(4) 在做好配合标记后,松开大支架固定螺栓,拆下大支架,定置摆放。
(5) 拆出杠杆轴及衬套,定置摆放。
(6) 将摇臂轴侧小支架及附件拆下,定置摆放。
(7) 松开小压圈上的固定螺母,拆下小压圈,定量摆放。
(8) 在做好配合标记后,松开法兰盖上的固定螺栓,拆下法兰盖,定置摆放。
(9) 拆下摇臂及阀芯,定置摆放。
(10)取出摇臂及阀芯,定置摆放。
2、阀门的清理检查

(1) 检查阀芯及阀体上的阀线,阀线上应无影响密封性能的凹槽、气孔及横贯密封面的痕迹,应全周接触无间断。若发现有影响密封性能的缺陷应进行研磨等处理。
(2) 检查阀蝶与摇臂间的连接情况,调整垫片与摇臂间隙为1~1.2mm之间,不应过大也不应过小,否则应进行调整。阀蝶与摇臂的紧固螺母连接应牢固,定位的焊点应完整、无裂纹,阀蝶轴与摇臂圈的间隙应符合要求。
(3) 检查杠杆轴、摇臂轴与大小衬套及播臂的间隙应符合要求,各轴表面及衬套内壁表面应光洁、无凹坑。
(4) 检查大密封盖与法兰盖内的填料,应完整,如有损坏应予以调换。
(5) 检查阀门盖头及阀体的密封面应完整,无影响密封效果的凹槽、砂眼及贯穿划痕等。
(6) 清理检查支架、法兰盖与阀壳结合处的密封面,密封面上粘连的旧垫片应清理铲去。密封面应无影响密封效果的缺陷。
(7) 所有的键、键槽要清理,应保证连接良好。
3、阀门的装复
阀门在装复前,各轴、衬套表面应用二硫化钼粉剂用力擦至发亮。装复要根据装配标记按解体的逆步序进行,装复过程中应注意以下几点:
(1) 阀蝶与摇臂连接后,可对调整垫片的厚度进行调整,保证阀蝶开关的转角达到制造厂要求的角度,之后,紧定螺母应与阀蝶点焊牢固。
(2) 杠杆轴、摇臂轴与摇臂组装时,杠杆轴与摇臂端、摇臂轴的调整垫片与摇臂端均应留有1~1.20mm的间隙。
(3) 在摇臂轴、杠杆轴外侧与阀壳连接的支架及法兰盖装复紧固时,要注意使两轴保持同心,以防止造成阀蝶开关不活络或卡涩。
(4) 在两端的填料压紧的过程中,应保证各轴(杠杆轴、摇臂轴)动作活络、不卡涩。
(5) 所有密封垫片均应更新。
4、操纵座的解体
(1) 将操纵座的上盖与气缸体,气缸体与底座间均做好装配标记后,拆除上缸与底座的紧固双头螺栓中的短螺栓,定置摆放。
(2) 同时或分别松开两只长紧固螺栓的螺母,均要求缓慢进行(分别松时要求交替进行),直至松开,将螺栓定置摆放。
(3) 将操纵座上盖、气缸体与底座分离,取出活塞、门杆及弹簧,定置摆放。
(4) 拆下开口销及六角槽型螺母,使活塞杆与活塞分开,定置摆放。
(5) 操纵座的检查及清理。
1)检查活塞缸内壁应光滑。
2)检查圆柱型压缩弹簧,并记录弹簧自由状态下的长度,以便与前(后)次检修作对比。
3)检查活塞杆及活塞表面应光滑。
4)检查上盖、气缸体与底座连接处的密封面应完好,并进行清理。
(6) 操纵座的装复。操纵座的装复按解体的逆步骤进行,同时应注意以下几点:
1)各密封O型圈均换新的,调换耐温橡胶、型密封圈;
2)气缸体内壁及活塞表面装复前应涂硅脂以保证润滑;
3)气控操纵座装复后,用压缩空气校验活塞杆的空行程,应符合制造厂要求,活塞杆的动作应活络连续,无卡涩现象。
(7) 整体校验。将操纵座固定在阀体上,并与阀门的杠杆连接,接通压缩空气接头,进行整体校验。要求:
1) 与抽汽止回阀组装后,通压缩空气开关的行程应符合制造厂规定的行程。
2) 开关过程中,整体动作应连续活络,无卡涩现象。
3) 阀门的开度指示应校验正确,动作开关连同热工控制一道校验。开、关的显示与阀门的实际位置指示相符合,校验结束。
二 疏水阀

1、简介
汽轮机的疏水系统是汽轮机热力系统的重要组成部分,尤其是汽轮机本体、主蒸汽、再热汽及高中压阀门、给泵汽轮机新蒸汽疏水等一些重要的疏水阀门,在机组启动暖管时,要求能够及时正常疏水,而在机组处于正常运行状态时,又要求阀门能够可靠隔绝,无泄漏。如果这些疏水阀发生泄漏,则对于机组的效益的影响是非常明显的。
有鉴于此,引进型300MW汽轮机组的一些重要的疏水阀门均采用进口阀门,其结构型式为气控操作的二位式截止阀。截止阀具有结构简单、密封性好、维修方更的优点,截止阀加装气控操纵机构,使阀门操纵快捷,反应灵敏,能够更好地符合机组自动化拄制的要求,气控操纵部分为美国VALTEK公司的产品,阀门本体部分则为美国ONVAL公司的产品。阀门的结构见图,气控操纵装置的结构见图。
2、疏水阀检修
由于阀门由操纵机构与阀门本体两部分组成,故解体分两步进行。
(1)操纵机构的拆除。
4) 将与气控操纵机构相连的压缩空气管进气接头、电磁阀、动作开关等外围部件拆除,并定置摆放。
5) 拆除操纵机构的手动操作装置,定置摆放。
6) 将操纵机构顶部的弹簧压紧螺栓全部松出。
7) 松开操纵机构与阀杆相连接处的紧固螺栓,并把紧固圈略向上移。
8) 松开将操纵座固定于阀门本体上的哈夫锁块上的连接螺栓,分别将两块锁块拆下,将两块锁块用螺栓连接好后定置摆放。
9) 用扳手松开阀门门杆与操纵机构的连接螺帽,直至将操纵机构与阀门本体脱开,将操纵机构定置摆放。
(2)阀门本体的解体。
1) 用内六角扳手将阀盖一侧的紧固螺栓松开拆下,把紧固螺栓从另一侧由螺纹处拧进,在阀盖紧固处的中间槽缝中放置一块厚约1mm的铁板(直径Ø35~Ø40),用内六角扳手拧紧紧固螺栓,将阀盖的槽缝进一步顶开,使其间隙增大。
2) 用专用扳手(或橡皮梆头)扳(或敲击)门盖,使门盖沿逆时针方向旋转,直至旋出取下,定置摆放。
3) 用紫铜棒轻敲填料压盖外侧直至松动,取出填料压盖。
4) 取出门杆及门芯,定置摆放。
(3)检查。在阀门全部解体以后,对阀门的密封面等各部分均应进行检查。
1) 阀门座及门芯上的阀线检查:外观检查阀线密封应全周接触,不应有凹槽、吹损等影响密封的缺陷。
2) 阀门门杆、阀壳与填料压盖间的密封面均应接触完好。
3) 阀门进、出口应无异物及杂质。
(4)维修处理。
1) 如果阀线有吹损现象,则应对阀芯、阀座内的阀线进行不同的处理:阀芯上的阀线按原角度在车床上车出;阀座上的阀线则用专用的维修工具对阀座内的硬质合金密封面进行修刮,每次修刮的量约为0.05~0.08mm,根据阀线缺陷的实际情况决定修刮的量。在观察密封面无凹痕后,用研磨膏对阀线进行细磨。阀线磨光后,在门芯上的密封面处均匀地徐上蓝油(或红丹粉),用专用的套筒固定后送人阀座内进行密封接触试验。密封面应全周接触均匀无间断。
2) 填料函内的填料若为非柔性石墨填料,则应全部更换为柔性石墨填料。原来为柔性石墨填料的,应检查是否有损坏,若有损坏应更新。
3) 门杆上的密封面(与填料接触处)应光亮无锈蚀,阀座内及填料函下部的自密封面应磨光洁。
4) 门杆顶部的连接螺纹表面应清洁干净,连接应活络。
5) 对填料压紧套筒的螺纹连接应进行清理,使其活动轻松自如.以保证其在机组正常运行中可以方便地调整。
(5)装复。在清理检查工作结束后,将所有的连接螺纹涂防咬涂料后,即可进行阀门的装复。装复按解体程序的逆步骤进行。
(6)调整及注意事项。
1) 在操纵机构与阀门门杆连接后,即开始时阀门的下限(关的方向)进行调整。在门杆螺纹旋人操纵机构的连接螺母中时,将压缩空气直接接至操纵机构进气口处,对阀门进行开关操纵,并调整连接螺母,直至阀门关足后操纵座与阀门本体连接处的最下段留有3~5mm的间隙。至此,初步调整结束(此时哈夫锁块不装)。
2) 气控将阀门开出,使操纵座架与阀体连接紧密后,将哈大锁块装复,并拧紧紧固螺栓。
3) 气控将阀门开关,调整阀门的开度指示牌,使阀门的指针的位置与阀门的实际开关位置相符合。
4) 在电磁阀、动作开关等外围设备装复后,与热工控制专业一道对开关信号指示进行调整校验,确认开、关方向均正确,调整结束。
三 调节阀
调节阀是用来调节设备及管中介质的流量,其工作原理主要是靠改变阀芯与阀座间的流道面积来达到调节流量的目的,结构有多级节流、回转圆筒型、套筒柱塞型、平闸板式以及笼式等。大型火力发电厂其系统复杂,对介质的调节要求高,故调节阀在机组的汽、水各系统中均有广泛的应用,随着机组自动化程度的不断提高,对调节阀的调节性能的要求也不断提高。
调节阀在电力系统中使用最为广泛的就其驱动方式来说有电动调节和气控调节两种。在此介绍由美国费歇尔公司(FISHER)生产的气控调节阀。调节阀结构如图4-8所示,气控操纵部分结构如图4-9所示。
调节阀由阀盖、阀体、阀杆、阀芯及阀座等组成,气控操纵部分由气控头(包括橡胶簿膜,压缩弹簧等)电磁阀、压缩空气管等组成。
1、阀门解体
(1) 将与气控操纵机构连接的压缩空气管接头、电磁阀等拆除。
(2) 松开连接操纵机构传动杆与阀门门杆的螺母,将门杆旋松,直至与传动杆脱开。
(3) 松开阀门盖上端操纵装置支架的螺母,将气控装置吊出,定置摆放。
(4) 松开阀门盖头螺栓,将盖头连同门杆一同取出,定置摆放。
(5) 松开压盖螺栓,从盖头上抽出门杆及门芯,定置摆放。
(6) 将阀体内的套筒及阀座上的分体式阀线座及密封垫片取出,定置摆放。
2、清理检查
(1) 检查阀芯及阀座上的阀线,应完好,无影响密封效果的缺陷。若有轻微的缺陷,采用研磨砂对磨的 *** 予以消除;若有较深的吹损或凹坑,则应上车床加工予以修复;阀线损害严重无法修复的则应调换备品。
(2) 检查阀杆密封段应光洁。
(3) 检查套筒的窗口四周应无氧化物及其他杂质堆积及附着,如有则应予以清理。
(4) 检查阀座上阀线与阀座间的密封面,应平滑完整,无影响密封性的凹痕、砂眼及贯穿性的划痕。
(5) 检查阀盖与阀体间的密封面应完整。
(6) 检查阀体内部尤其是出口侧的内壁,不应有明显的吹损及减薄。
(7) 检查填料室内的填料,如有损坏应予以调换。
(8) 所有密封面均应进行清理。
3、装复
装复按解体的逆步骤进行。装复时应注意以下几点:
(1) 密封垫片均应换新的。
(2) 套筒装复后,上端的密封面应与阀体上的密封面基本保持在同一高度,以保证盖头及阀座的密封效果。
(3) 操纵座与阀体连接时,传动门杆的螺母应旋紧,以便于调整。
4、调整
阀门装复就位后,将气控接头等外围附件安装就位,会同热工控制有关人员对阀门进行调整。
(1) 接通压缩空气,将阀门门杆调整至关闭位置后,再操纵控制装置将阀门开足,把门杆向关的方向再调下2~3mm,然后将阀门门杆与气控装置的螺母紧固。
(2) 调整阀门至关的位置,将阀门的开度指示调至零位置,然后操纵阀门开关几次,确认阀门全行程开关且开关过程连续活络。无卡涩现象,则限位调整结束。
(3) 调整动作开关定位板,使阀门开足和关闭时动作开关的动作正确。
四循环水系统蝶阀
(一)概述
由于火力发电厂所需用的冷却水量很大,故循环水系统的管道口径也相当大,300MW机组的循环水母管的公称通径为DN2600,主机凝汽器循环水进、出水阀的公称通径为DN1800。蝶阀因其结构紧凑、占地面积小、密封性好等优点面成为低压大口径管道系统启闭及调节阀门的首选。
DF47DH-1.0 DN1800蝶阀的工作压力≤1.0MPa,适用于温度≤50℃的水。阀门与管道采用法兰连接,采用二级减速装置,阀门采用立式布置。阀门蝶阀主要由带有定位块的阀体、蝶板、上下阀轴及传动装置组成。
工作原理为:电动机驱动阀杆旋转,再带动阀轴和蝶阀相对于阀体在90°范围内转动,达到控制流量和启闭的目的。
由于循环水母管的隔绝阀多数布置在室外的阀门井内,阀门井内的工作环境非常差,水气多,使电动装置的控制回路失效,使阀门的限位失去作用,造成阀门开关过头。在实际使用中,应将电动装置调换为室外型,以保证阀门在恶劣环境中可靠的开关及调节。
(二)循环水蝶阀检修
在系统未隔绝之前,可对阀门外观进行检查:首先将阀门井内的存水打光。然后,对阀门的连接法兰进行密封性检查(此时管道内应充满水并有压力),阀门的法兰应连接紧密无泄漏。
在系统可靠隔绝后,即可对阀门进行检修。检修步骤如下:
(1) 首先应确认管道内的存水已打光。
(2) 将阀门电动打开至开足位置,将电源拉去。
(3) 工作人员通过凝汽器人孔门进入管道内(应保证充足的照明),对阀门的密封面进行检查。此时在人孔门外应没有专人监护,并及时联系,不得离开。管道内的照明应采用12V行灯或防爆电源以保证人员的安全。
(4) 如果发现阀门密封圈损坏严重,应将密封圈进行更换。首先应准备好同型号密封圈的备品,然后将原密封圈的压条螺丝拆下,拆去压条,将破损密封圈取出,把备品密封圈安装就位,并将密封圈压条及螺栓装复。
在密封圈检查无损坏、阀门密封良好后,可将阀门电源送上,对阀门的高低限位进行校验。此时,应有人员留在管道内观察阀门限位(尤其是低限)的动作情况,如阀门的限位不准确,应重新校验。
(5) 在阀门的限位校验好。开关正常后,人员撤离并取出工具,人孔门装复,阀门检查结束。
五真空蝶阀
(一)概述
300MW给泵汽轮机的排汽通过排汽管道直通主机凝汽器,为保证主机运行中给泵汽轮机能够可靠隔绝,排汽管设置隔绝阀。由于排汽管口径大,且处于真空状态,故选择电动真空蝶阀。
由于其所处的位置的重要性,要求阀门的密封性一定要好,否则将造成机组真空下降,经济性降低。
铁岭阀门厂生产的Dks9A41X-2.5C型蝶阀就是为适应无腐蚀的饱和水蒸汽低真空管路的隔绝阀而设计的,阀门的结构如图4-11所示。阀门的技术参数如:
公称压力:0.25MPa。
试验压力:壳体0.4Mpa,密封0.275Mpa。
工作压力:0.25MPa。
适用介质:无腐蚀饱和水蒸汽。
适用温度:<150℃。
真空泄漏率:<0.667kPa/min。
主要零件材料:
阀板、阀体:Q235-A、F钢板;
阀轴密封座:2Cr13:
蝶阀阀板密封圈:耐热橡胶Ⅲ-2或乙丙橡胶。
该阀门的特点为:其结构为双阀座形式,即阀板与阀体上均设置两道橡胶圈密封结构,两道密封之间形成腔室,在将阀门关闭后,外接的压力为0.25MPa的压力水,通过阀体上的接头进入并充满腔室,形成一道水封,水封与双橡胶密封圈密封相结合确保真空不泄漏,达到良好的密封效果。
加水的操作步序为:
(1) 在确认排汽阀门关闭到位后,打开阀门上部的排气阀。
(2) 开出阀门下部的密封水进水阀给两道密封阀的腔室加水,至排气管道溢水时将排气阀关闭,使腔室内保持密封水压。
(二)真空蝶阀检修
在机组已停役,阀门具备检修条件后,即可开始对真空蝶阀的检修工作,检修工作的步骤如下:
(1) 打开阀门边的人孔门。
(2) 将阀门电动开出至开足位置。
(3) 有关工作人员在保证充足的照明的条件下,进入管道内对阀门进行检查。此时,人孔门外应有专人监护并随时联系,不得离开。如果使用行灯,应保证电压为12V,行灯变压器应放在管道外面。
(4) 检查阀门的双密封面及阀板上的密封圈,如密封圈在阀门的使用过程中损坏严重而影响阀门的密封时,应及时更换备品密封圈。
(5) 在检查阀门密封完好后,对阀门开关行程及高低限位进行校验。此时,管道内的工作人员应认真监视检查,确认阀门电动开关正常限位动作正确后,将管道内的工、器具及其他物品取出,人员撤离,人孔门装复。
找阀门要上网,就上全球阀门网
-
- 比亚乔摩托车是哪里生产的(比亚乔摩托车价格)
-
2023-10-11 01:27:32
-
- 祖冲之的资料_祖冲之的资料100字
-
2023-10-11 01:25:18
-
- 小动物的影子ppt(会变化的影子ppt)
-
2023-10-11 01:23:03
-
- 大公鸡喔喔叫儿歌外面的世界真美好_大公鸡喔喔叫儿歌歌曲
-
2023-10-11 01:20:48
-
- 风筝的制作方法和步骤写作文,风筝的制作方法和步骤英语
-
2023-10-11 01:18:33
-
- 剖腹产注意事项及如何坐月子(剖腹产注意事项及护理如何快速排气)
-
2023-10-10 22:18:44
-
- 打电话教学设计特等奖(打电话教学设计优质课数学)
-
2023-10-10 22:16:29
-
- 诺基亚n81上市价格_诺基亚n81当年多少钱
-
2023-10-10 22:14:15
-
- 最天使 伴奏 和弦,最天使钢琴伴奏
-
2023-10-10 22:12:00
-
- 成长的快乐作文600字初一 成长的快乐作文600字初三
-
2023-10-10 22:09:45
-
- 广州五仙观在哪里?广州五仙观介绍
-
2023-10-10 22:07:30
-
- 石家庄保洁员招聘信息(石家庄保洁员公司)
-
2023-10-10 22:05:16
-
- 幼儿园小班教学案例分析40例(幼儿园小班教学案例分析与评价)
-
2023-10-10 22:03:01
-
- 星星的记号有第二部么(星星的记号结局)
-
2023-10-10 22:00:46
-
- 江科大信息系统研究方法(港科大信息系统管理就业)
-
2023-10-10 21:58:32
-
- 给客户的中秋贺词怎么写简短?给客户的中秋贺词简短
-
2023-10-10 14:07:19
-
- 联想p700i手机 联想p700i卡刷包
-
2023-10-10 14:05:04
-
- 申请书格式范文模板_申请书格式范文 标准
-
2023-10-10 14:02:50
-
- 关于旅游的英语作文七年级下册 一篇关于旅游的英语作文
-
2023-10-10 14:00:35
-
- 插上科学的翅膀飞作文500字六年级_插上科学的翅膀飞作文穿越恐龙时代
-
2023-10-10 13:58:20



抖音牛逼姐和她男朋友视频什么瓜抖音nb姐吃瓜视频事件完整版
刚开荤的男生是不是收不住?亲身经历